- BH40030串聯氣動平衡器
-
品牌韓國DONGSUNG東星
| 型號 | BH40030 | |
| 額定載荷 | 400kg | |
| 行程 | 3米 | |
| 氣壓 | 0.7Mpa | |
| 提升速度 | 1m/s | |
| 耗氣量 | 0.13m3/行程 | |
| 重量 | 108kg | |
BH40030串聯氣動平衡器
2015-04-14 08:36:58瀏覽: 3396次
相關搭配:
![]() |
+ |
![]() |
+ |
![]() |
| BH40030串聯氣動平衡器 | DRA型氣動平衡器滑軌/鋁軌 | DONGSUNG懸掛式軌道輸送系統 |
BH40030串聯氣動平衡器,韓國東星/DONGSUNG品牌,產品經過CE\GS\ISO9002質量認證,現由龍海起重授權代理,承諾假一賠百!

BH40030串聯氣動平衡器特點:
(1)結構上:雙平衡吊,載重量大;
(2)提升/懸浮功能,300mm行程的漂浮,雙手自由無阻力提升、下降以移動工件;
(3)控制手柄可同時實現吊裝重物、懸浮功能;
(4)起升速度快,可1mm/s~1000mm/s調速,定位準;
(5)斷氣保護功能;
(6)防超載裝置;
(7)氣體動力,防爆性能優。
BH40030串聯氣動平衡器參數:

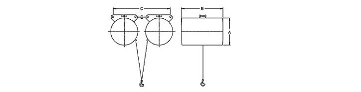
| 型號 | 起重量 | 行程 | 尺寸 | 自重 | ||
| KG | m | A | B | C | kg | |
| BH40030 | 400 | 3 | 267.4 | 570 | 590 | 108 |
BH40030串聯氣動平衡器圖片:

|
品質承諾:
BH40030串聯氣動平衡器,保質期12個月(易損件除外),龍海起重授權代理,可提供代理資質證明,承諾假一賠百! |


